天然GFP中的大设计
在我的青春还没有结束的时候(误),曾经在有机所周老师(我现在便在他的实验室搬砖)的课上近距离接触了绿色荧光蛋白(Green Fluorescent Protein, GFP),并且人生中第一次体验了柱子——那应该是迄今为止最美妙的一次过柱子经历了。

但是,由于当时我们都太弱了,周老师并没有给我们深入科普 GFP 的结构和机理……本文便来填补这一空白。同时,我们也会为每一步结论提供相应的实验证据。
一、绿色荧光蛋白的生色团
野生型绿色荧光蛋白(Aequorea)的原始氨基酸序列如下 1:

已知的是,在大肠杆菌中人工表达的以上蛋白可以发光。因此,GFP 的生色团和其他荧光蛋白不同,不是一个另外合成然后塞进蛋白里的外加基团,而是由肽链本身折叠形成的。
在确定这一点后,就可以对肽链本身下手。用木瓜蛋白酶部分裂解肽链,发现其中一个六肽 FSYGVQ (64-69)碎片也有同样的光谱特性 2,从而大大缩小了研究范围。
接下来,生色团的结构本身被确定了,实际上起关键作用的是三肽 Ser65-Tyr66-Gly67。

它可以转化为一个对羟基亚苄咪唑啉酮 (p-hydroxybenzylidene-imidazolinone),具体的折叠机理如下 1:

这是个亲核进攻—脱水环化,然后氧化的过程。支持氧化机理的观察包括:
- 无氧环境下表达的蛋白没有荧光,但除此之外和正常的蛋白相同;
- 通入氧气后,蛋白逐渐正常发出荧光,并且在溶菌后的上清中同样如此(也就是说,氧化过程不需要任何细胞中的酶);
- 氧化可形成一个稳定的咪唑酮离域 π 键体系,而该自发氧化过程在其他类似的咪唑酮中也有被观察到。
上述生物合成过程中,唯一的底物便是氧化使用的氧气,并且没有使用任何外部的酶,这意味着绿色荧光蛋白几乎只要能被表达出来,就能正常工作,无论环境,无论物种,为它的广泛适用性提供了基础。
当然,上述反应并不是 Ser-Tyr-Gly 三肽固有的性质,因为在许多序列包含同样的三肽的蛋白中,这个生色团并没有形成。因此,该过程的确需要 GFP 的其他残基参与催化。
虽然看起来唯一用来组成生色团的只有酪氨酸(提供了“对羟基亚苄”的部分;“咪唑啉酮”则是由肽骨架环化形成的),但实际上,另外两个残基对于生色团的形成也几乎必不可少。
所有的突变体都包含了 Gly67 这个看似无害的甘氨酸,因为只有简单的甘氨酸不会在亲核进攻羰基时产生空间位阻;Ser65 丝氨酸则主要起稳定作用,有时突变成苏氨酸;而可能令人惊讶的是,Tyr66 酪氨酸并不是无可替代,用同样有芳香性的色氨酸或组氨酸都可得到类似的离域 π 键体系,从而得到荧光蛋白,虽然荧光要弱得多。
二、生色团的发光机理
我们继续研究生色团本身。生色团的吸收和发射光谱如下 2:

吸收谱线在 395nm(紫外)和 475nm(蓝光)有两个峰,并且 395nm 的吸收度要高得多。发射谱线(用 395nm 激发)则只有 508nm(绿光)一个峰。
现有如下实验事实:
- 475nm 激发的发射谱线峰值位于 503nm 而非 508nm;
- 在碱性环境中(几乎使蛋白质变性的 pH),475nm 吸收度和发射峰明显增加,395nm 则明显下降;
- 用 395nm 短暂照射样品后,发射峰从 460nm 转移到 508nm 需要 10 皮秒,而增加体系粘度,降低温度,或将氢用氘取代后,该转移速度明显变慢。
以上观察引出了几个推论:
- 发光过程中至少存在两种物质,拥有不同的光谱特性;
- 这两种物质通过质子转移互相转化;
- 质子是在激发态下发生脱离的——460nm 峰代表了质子化的生色团,508nm 则是去质子化的生色团。
因此,生色团的发光机理是一个类福斯特循环(Förster cycle)的过程:

其中活性氢是苯酚的羟基氢。我们将四种物质从左上角开始顺时针编号为(1)、(2)、(3)、(4)。激发过程如下:
- (1) 吸收 395nm 的紫外光被激发成 (2);
- (2) 失去一个质子(因为苯酚在激发态下酸性强得多);
- (3) 放出一个 509nm 的光子回到基态 (4);
- (4) 得到一个质子变回中性。
另一条可行的路径是 (4) 直接被 475nm(图中为 470nm)光子激发到 (3),然后放出 509nm 光子回到 (4),其中没有质子参与。
由于未激发情况下 (1) 物质较多((1):(4)=6:1),所以 395nm 的吸收度要比 470nm 高。但是有趣的是,因为 (4) 的碱性要比 (2) 的酸性弱(可参考上图的箭头相对长度),持续用 395nm 照射后,395nm 的吸收明显下降。其原因是因为 (1) 的浓度下降而 (4) 的浓度上升。
至于为何对羟基亚苄咪唑啉酮有荧光性质,则和它超大的离域 π 键体系有关。离域体系越大,离域电子越容易被激发,波长也越长,而这个生色团的离域体系大到发射波长位于可见光波段。(与之对比的是萘的发射波长为 310nm。)
此处,也可以解释这个现象:

在我们的实验中,用可见光照射样品呈黄色。作者的假说是,这是由于样品吸收了 470nm 的蓝光,因此呈黄色,也就是蓝色的补色。
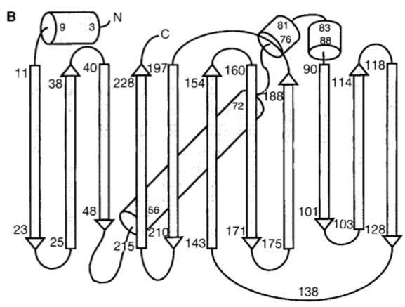
三、GFP 的二级、三级结构
上面的机理漂亮得让人觉得只要有个生色团就可以发荧光。但实际上,失活的 GFP 的光谱特性和正常蛋白有显著不同,并且只要对正常蛋白略作删减(氮端或碳端截短 5~9 个残基),便会失去荧光。这启示我们,GFP 的正常工作和它其余的残基形成的二级、三级结构有很大关系。

GFP 的整体结构是一个由 11 个 β-折叠接成的圆柱形“灯罩”,里面则是由三个 α-螺旋把生色团“灯泡”固定在正当中,就像一个台灯。这样的结构防止了生色团被任何杂分子作用而失活(比如被氧气淬灭)。同时这也有力地支持了生色团自组装的机理,因为没有任何酶和底物能够进入重重包裹。(氧化需要的氧分子被包含在一个小缺口里。3)

而生色团周围,则有几个氨基酸和它以氢键相连。

还有一些以水分子和其他氨基酸间接和生色团相连的氨基酸未标出。上面标出的五个氨基酸的用处各不相同。3
- Thr203 通过和氧原子产生氢键,协助稳定酚盐阴离子 (4) 的形态。如果突变成非极性的异亮氨酸(羟基变为甲基),则 475nm 峰消失,只剩 395nm 峰,说明此时阴离子 (4) 由于不稳定,会立即转变为中性的 (1) 而不会吸收 475nm 的光子。
- Glu222 和 Ser65 产生氢键,形成一个负电中心。这个负电阻止了 Tyr66 的电离,稳定了中性分子 (1) 的状态。如果 Glu222 突变为甘氨酸,或者 Ser65 突变成缬氨酸、丙氨酸等非极性氨基酸,则 395nm 峰降低而 475nm 峰升高,说明此时更多的生色团处于阴离子 (4) 状态。
- Arg96 参与催化了成环过程,也通过自己的正电(这一正电又通过其它几个相邻的氨基酸加以固定),稳定了阴离子 (4) 在羰基上的部分负电。(见下面的共振图)

- His148 和 Gln94 稳定了生色团结构并扩大了离域体系。
这几个氨基酸协同固定住了生色团的各个构象,使上文介绍的循环中的各步转化可以稳定地发生。
通过上文的描述,可以感受到天然 GFP 精妙的结构:三个氨基酸组成的生色团,由几个氨基酸用氢键加以稳定,再被 α-螺旋和 β-折叠层层包裹,在 238 个残基中组成了一个可以被两个波长激发并放出绿光的“小台灯”。进一步,调整几个氨基酸,便可以让它的吸收波长和放射波长发生变化,造出一系列不同性质,不同颜色的荧光蛋白。GFP 最出众的一点,在于它完全“自给自足”,无需外界的酶或特殊底物,便可以完成自组装,令人感叹其蕴含的“大设计”。